DİĞERTELEVİZYON

Sony TV reklamlarında devrim yaptı

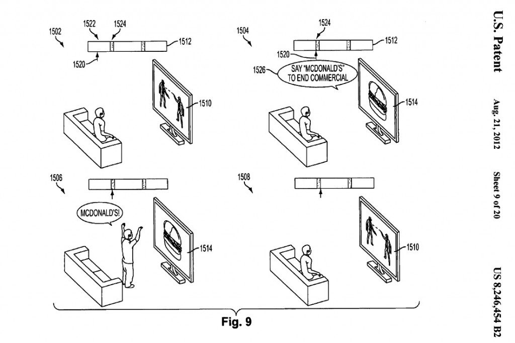
Sony, televizyon reklamlarını interaktif bir boyuta taşıyarak, sıkıcı olan reklamları bir eğlenceye dönüştürüyor. Sony tarafından kaydettirilen bu yeni patent ile reklamlar artık oyun şeklinde olacak, reklamları kapatmak için minik bir oyun oynamanız gerekecek.

PlayStation, PS Eye, Move, DualShock oyun kolları ya da mikrofon gibi bazı araçların yardımıyla oynayacağınız bu minik oyunlar, eğlenceli olmanın yanı sıra reklam bazlı olacak. Bu “oyunlar” ile eve pizza söyleyebilecek ya da çeşitli ürünleri satın alabileceksiniz. Patent başvurusunda kullanılan görsellerden birinde Move’u kullanarak büyük bir “Satın al” butonunu seçen biri bulunurken, ötekinde bir karakter oylaması için X, O, üçgen ve kare butonlarını kullanarak oylama yapan biri bulunuyor.

Patentte ayrıca PlayStation’a bağlı bir mikrofon da gösteriliyor. Mikrofonun işlevi de izleyicilere ne tür reklam görmek istedikleri sorusunu sesle yanıtlama fırsatı vermek ve bazı tür reklamlarda izleyiciye tıpkı aşağıdaki karikatürde gördüğünüz gibi reklamı sona erdirmek için markanın adını söyletmek.

Anlayabildiğimiz kadarıyla bu sistem, ancak bir ağa bağlı olan ekipmanlarla kullanılabiliyor. Yani PlayStation’ınız internete bağlı değilse büyük bir olasılıkla bu tip reklamlar göremeyeceksiniz.

Başa dön tuşu